DNF勋章升级需要材料汇总
时间:2025-09-16 00:57:50
- 编辑:月色如画
0
DNF勋章改版之后每个玩家都要从普通勋章升级成史诗勋章,升级过程需要消耗一定的材料,那么DNF勋章升级需要什么材料?下面就给大家带来DNF勋章升级需要材料汇总。
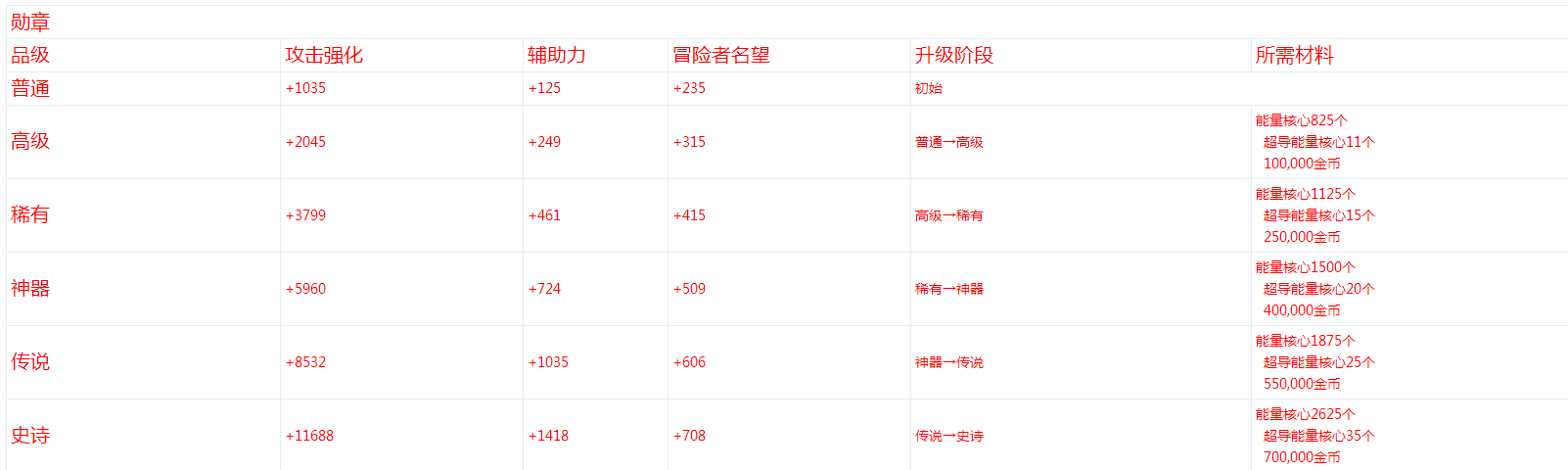
DNF勋章升级需要材料汇总
*在冒险团界面的“勋章”页面或地下水道区域的 NPC 库里欧处可以通过菜单中的“勋章/宝石升级”来进行升级。
-勋章/宝石升级系统仅适用于城镇内(包括永恒大陆),不适用于地城和竞技场内。
* 勋章可以从普通品级升级到最高史诗品级,宝石可以从普通升级到传说。
- 勋章/宝石升级为 100% 几率,并且根据升级的阶段,增加攻击强化、辅助力和冒险者名望。
- 升级需要消耗能量核心、超导能量核心、金币,每级消耗量增加。
- 宝石升级不能超过勋章的稀有度。
* 勋章/宝石升级阶段效果(攻击强化、辅助力、冒险者名望为累积数值基准)
本文内容来源于互联网,如有侵权请联系删除。
最新版本内容
近期热门
网游评测
竞技视频
3DM自运营游戏推荐
-
倾国之怒
-
原始传奇
-
斗罗大陆(我唐三认可0.1折)
-
太阁立志2
-
奇门(0.1折仙侠不用闪)
-
深渊契约
-
猫狩纪0.1折
-
灵剑仙师(斗破苍穹)



